請求書情報を自動作成できる社労士のkintone顧客管理とは?|あおい社会保険労務士法人さまのアプリ開発事例
社労士をはじめとした士業と呼ばれる業種では、顧問料や給与計算の委託費など、毎月同じ金額の請求が発生するケースが少なくありません。
毎月のこととは言え、多くの顧問先を受け持っている場合には請求書作成の際に抜け漏れが発生しやすくなります。
また、1つ1つ顧問先の契約情報を確認しながら請求書を作るのは手間もかかるでしょう。
今回は、毎月の請求書発行を手動でおこなっていた社労士事務所さまが、kintoneを活用することで請求書に必要な情報を自動作成できるようになった導入事例をご紹介します。
kintoneが請求業務をどのように効率化したのか、請求管理に課題を感じておられる社労士事務所さまはぜひご覧ください。
kintone導入の効果やコムデックの支援について、お客様に率直な感想をお伺いしたインタビューを公開中!是非ご覧ください。
目次
脱Accessで顧客管理をkintone化!
神奈川県横浜市に事務所を構えるあおい社会保険労務士法人さまでは、人事労務相談や人事戦略立案、人事制度設計、就労規則作成、社会保険手続きといった一般的な社会保険労務士の業務に加えて、顧問契約以外のスポットでの労務相談も受け付けていらっしゃいます。
あおい社会保険労務士法人さまでは、もともとデータベースソフトのMicrosoftAccessを用いて顧問先情報を管理していました。
しかし、Accessの場合はソフトを使用するパソコンの台数分だけライセンスが必要になるため、パソコンを買い替えるたびにライセンスを購入しなくてはなりません。
端末に依存するライセンスとなるためそれらの管理コストも掛かりますし、パソコンを買い替えれば新しいパソコンに対するAccessのインストール作業も必要になります。
また、Accessではその他のソフトウェアやエクセルデータとの連携が簡単にはできないため、例えば住所情報や依頼されたタスクなどのデータが連携されず、個別のデータとして分散した状態となっていました。
顧客の情報が各所に分散している状態で、必要な情報を取り出すのも集めてくるのも一苦労。持っている情報を十二分に活用できない状態を打破したいということで導入を決めたのがkintoneだったのです。
まずは顧問先管理からkintone化し、住所や連絡先といった基本情報はもちろん、依頼されたタスクの情報もkintoneに登録。
kintoneは各アプリの連携を簡単に行うことができるため、1つ1つのアプリで管理する情報はシンプルにして相互に紐づけを行うことで情報を集約していきました。
その結果、顧客ごとの契約状況の一元管理が実現し、リモートワークの従業員ともスムーズに情報共有できるようになりました。
昨今、社労士事務所などの士業でもリモートワークを導入するケースが増えていますが、こうした働き方の変化にもkintone化は有効な手段と言えるでしょう。
顧問先管理をkintone化した事例については、こちらの記事で詳しくご紹介しています!
▼顧客管理をkintoneで行うメリットとは?~社労士編~|あおい社会保険労務士法人さまのアプリ開発事例
顧客管理のkintone化に成功したあおい社会保険労務士法人さまが、次に取り組みたいと考えたのが請求管理でした。
請求書情報をAccessで管理、登録の抜け漏れも……
あおい社会保険労務士法人さまがAccessで管理していたのは顧問先の情報だけでありません。
顧問先に送る請求書を作るための情報管理にもAccessを使用していましたが、前述の通りパソコンを買い替えるたびにコストが発生すること、そして請求データの作成に手間がかかることから脱Accessを検討されていました。
特に請求データの作成については、どの顧客はいくらの顧問料で、その他にどのような請求をしなくてはならないのかといった情報を確認して手入力する必要があります。
それらのデータは毎月一件ずつ完全手入力だったので、登録時に抜け漏れが起きやすいという課題がありました。

せっかくkintoneに顧客情報を集約したなら、そこに契約に関わる情報を追加することで自動的に請求データを作成できないかと考えたあおい社会保険労務士法人さま。
抜け漏れを防ぎながら請求業務を効率化するべく、請求管理のkintone化プロジェクトがスタートしました。
kintone活用による請求書業務は以下のページでも解説しています!
kintoneとマネーフォワードクラウド請求書の連携で担当者の業務負担を軽減!
請求書情報はプラグインで顧客管理から自動集約
あおい社会保険労務士法人さまでは、以下の3つのステップで顧客情報から自動で請求データを作成する仕組みを構築していきました。
- 請求管理アプリの作成
- 顧客情報アプリに契約に関する項目を追加
- 請求データの自動作成設定
ここからは、各ステップについて解説していきます。
Accessの内容を元に請求管理アプリを作成
kintone化に向けて最初に着手したのは、これまで用いていたAccessファイルの情報をもとにした請求管理アプリの構築です。
管理項目や操作がいきなり大きく変わると、抵抗が生まれたり上手く活用されなかったりする懸念があります。従来の管理方法を土台としてアプリを構築することで、従業員も使いやすくスムーズに管理方法の切り替えが可能です。

顧客情報アプリに契約に関する項目を追加
自動的に請求データを作成するためには、「その顧問先の顧問料がいくらなのか」「毎月請求するのか、半年に一回なのか」といった契約に関する情報をどこかに持たせておく必要があります。
契約情報のみを管理するアプリを作る方法もありますが、あおい社会保険労務士法人さまの場合には顧客情報アプリに必要な項目を追加する形にしました。
顧客情報アプリ内に顧問料と請求月を登録できるように項目を追加し、どのタイミングでいくら請求すれば良いのかを自動取得できる状態にしています。

krewDataで自動的に請求データを作成するフローを構築
顧客情報アプリに請求データの元となる情報を追加し、最後にkrewDataで毎月の顧問料の請求データを自動作成できる機能を追加しました。
krewData(クルーデータ)とは、kintoneの標準機能では難しい「アプリ間をまたぐデータの集計」や「別のアプリへの自動データ登録」などをプログラミングの知識が無くても実行できるようにするkintoneのプラグインです。
krewDataを利用することでkintoneでできることがぐっと広がる、アプリ開発の強力な味方となっています。
「集計元になるアプリ(入力アプリ)」と「何をしたいのか」を組み合わせて使うデータを指定していくことで、データを集計・加工・出力することができます。
毎月、毎週、毎日決まったタイミングで実行する「スケジュール実行タイプ」と、データの修正を即時反映する「リアルタイム実行タイプ」があり、例えば今回のように「毎月1回請求データを自動的に作成する」のであればスケジュール実行タイプが向いています。
一方で、常に最新の売上集計を確認したいといった場合にはリアルタイム実行タイプが良いでしょう。
このkrewDataで顧客情報アプリに登録された「何月に請求すべきか」を参照し、請求すべき月にのみ顧問料を請求管理アプリに計上するように設定しています。
最初に対象月さえきちんと登録しておけばkrewDataが自動で対象を判断するため、手作業で起こりがちな抜け漏れの心配がありません。
毎月データを新しく作成するため、金額が変わる場合も顧客情報アプリを変更すれば次のデータ作成のタイミングからは自動で変更してくれます。
何より、契約情報を確認しながら請求データを手動で作成するという手間が省け、請求業務を大幅に効率化することができました。

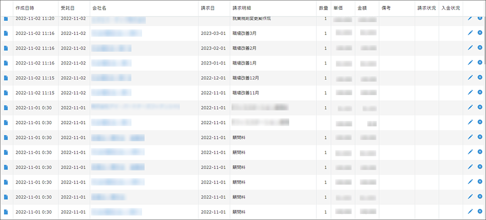
請求データはこちらの画像のように自動作成されますので、ここに顧問料以外の請求情報を手動で追加して顧問先ごとの月の請求額を確認しながら請求書を作成することができます。

顧問料に含まれていない「不定期で実施する業務」の請求について、当初は業務台帳から自動で請求データを作成するよう設定を行っていました。
しかし、その業務が顧問料に含まれていないのかどうかの判断は従業員には難しく、先生が必ず確認する必要が出てきたことからそこはあえて手動登録にしています。
このように、「自動算出されるデータ」と「手動登録するデータ」を両立できるのもkintoneの特徴です。
また、あおい社会保険労務士法人さまの場合にはあえて実施していませんが、顧問料やその他の請求情報を明細として自動登録し、kintoneから請求書を発行する方法もあります。
請求書の発行まで対応できる社労士業務改善パッケージについて詳しくはこちら!
▼サイボウズ×船井総研×コムデック 社労士向けkintone活用セミナーに登壇しました
kintoneによる請求データの自動集計はこちらのページでも紹介しています!
kintoneで請求データを自動集計!マネーフォワードクラウド請求書に転送で請求業務の負担を軽減
請求管理をkintoneで実施するメリットは?
請求管理にkintoneを活用すれば、自動作成によって手間が削減されるほか、手作業で起こりがちな抜け漏れの防止にもつながります。
また、請求管理アプリ内に管理用の項目を設けることで、これまで管理が難しかった「未請求先が何件、いくらあるのか」「今月まだ未入金の先がどれだけあって、いくら入金されていないのか」といった状況も一覧ですぐ確認可能です。
kintoneであればデータの検索も容易にできるため、顧問先で過去の請求を絞り込んだり、特定の期間で絞り込んだりなど柔軟にデータを抽出することができます。
その他にも、一覧の設定変更や項目追加がそれまで使っていたAccessとは比較できないほど簡単に行えるようになったり、自社の業務に合わせて柔軟にアプリをアップデートしたりできるようになりました。
もちろん、Accessのライセンス購入自体が不要になったため、これに伴うコストや手間も削減されています。
請求管理をkintone化するメリット
- データが自動作成されるため手間がかからず抜け漏れがない
- 請求に関わる契約情報が一つのアプリに集約された
- 未請求や未入金などの状況を一目で確認できるようになった
- 過去のデータ検索が簡単にできる
- 項目の追加や設定の変更が簡単にできるため、必要に応じてアプリをアップデートできるようになった
- Accessのライセンスが不要になった
kintoneを活用した請求業務に関しては、以下でも詳しく紹介しています!
kintoneとマネーフォワードクラウド請求書を連携!請求データを自動作成
工数管理と合わせて生産性分析も可能に!
請求管理が自動化されたあおい社会保険労務士法人さまでは、さらに日報もkintoneでの運用を開始しました。
請求管理に登録された顧問先別の請求金額データと、日報に登録された顧問先別の労働時間データをkrewDataで集計することで、生産性の分析にも着手しはじめています。
今後はより正確な時間単価を算出できるように、請求データや日報データの精度向上を進めていく方針です。
いずれは、算出した生産性のデータを元に業務改善すべきポイントを検討していきたいとのことでした。
社労士事務所の多くでは、以前のあおい社会保険労務士法人さまのように顧客管理や請求管理にAccessやエクセルを用いているケースが少なくありません。
使い慣れたツールのためなかなか切り替えが難しいところではありますが、それらをkintoneに切り替えることで抜け漏れなどのリスクや手動登録の手間を削減しつつ、コスト面でもメリットを得ることができるかもしれません。
もし今御社が請求管理に課題を感じていらっしゃるようであれば、今回ご紹介した導入事例を参考にkintone化を検討されてみてはいかがでしょうか。
▼kintoneを活用した業務の自動化に関するおすすめページ
kintoneとfreeeの連携で請求書の作成業務を効率化!独自ルールに合わせた自動集計も実現
kintoneとマネーフォワードの連携で請求データの転記作業を自動化
伴走支援でkintoneでのタスク・進捗管理を自動化!
社労士でkintone活用!顧問先ごとに異なる手続きを自動作成、仕事の抜け漏れゼロへ!
kintoneで定期タスクを自動作成、更新漏れを防ぐチェック機能を実装
税理士業でkintone活用!月次の予定を自動作成し進捗管理を一元化
社労士でkintone活用!タスク作成の自動化、見える化で作業時間大幅短縮

コムデックでは業種にあわせた業務効率化の
支援を行っております!
お問い合わせはこちら












